Feature
- Suitable locations: YJ chain hoists may be employed independently or integrated with monorail cranes, jib cranes and similar equipment for diverse applications including assembly line operations, single-station lifting tasks, and wind turbine maintenance.
- Structural assembly: The optimised body of the YJ chain hoist, when paired with a highperformance motor, gear reducer and compact electronic control system, maximises the lifting height of loads within confined spaces.
- Convenient maintenance: The YJ chain hoist ingeniously combines a robust body with a flexible design, enabling swift sprocket replacement without dismantling the entire unit. Inspection of electrical components and brake operation is straightforward and efficient, significantly reducing maintenance time and costs.
- Voltage range: Selectable input voltage range from 110V to 480V, coupled with a standard 36V safety control voltage (with optional 24V/48V configurations), offers greater flexibility for customers worldwide.
Specification
| Model | Capacity | Lifting height | Lifting speed | Power | RPM | Phases | Voltage | Control Voltage | Rating | Travelling Speed | Travelling Power |
| (kg) | (m) | (m/min) | (kw) | (r/min) | (V) | (V) | (m/min) | (kW) | |||
| YJ 0.5-01 | 500 | 4 | 8 | 0.8 | 1440 | 3/2 | 110/480 | 24-48 | M5 | 11/21 | 0.75*2 |
| YJ 01-01 | 1000 | 4 | 4 | 1.1 | 1440 | 3/2 | 110/480 | 24-48 | M5 | 11/21 | 0.75*2 |
| YJ 01-02 | 1000 | 4 | 8 | 0.8 | 1440 | 3/2 | 110/480 | 24-48 | M5 | 11/21 | 0.75*2 |
| YJ 02-01 | 2000 | 4 | 7 | 1.1 | 1440 | 3/2 | 110/480 | 24-48 | M5 | 11/21 | 0.75*2 |
| YJ 02-02 | 2000 | 4 | 4 | 2.2 | 1440 | 3/2 | 110/480 | 24-48 | M5 | 11/21 | 0.75*2 |
| YJ 03-01 | 3000 | 4 | 7 | 3.0 | 1440 | 3/2 | 110/480 | 24-48 | M5 | 11/21 | 0.75*2 |
| YJ 03-02 | 3000 | 4 | 3.5 | 2.2 | 1440 | 3/2 | 110/480 | 24-48 | M5 | 11/21 | 0.75*2 |
| YJ 05-02 | 5000 | 4 | 3.5 | 3.0 | 1440 | 3/2 | 110/480 | 24-48 | M5 | 11/21 | 0.75*2 |
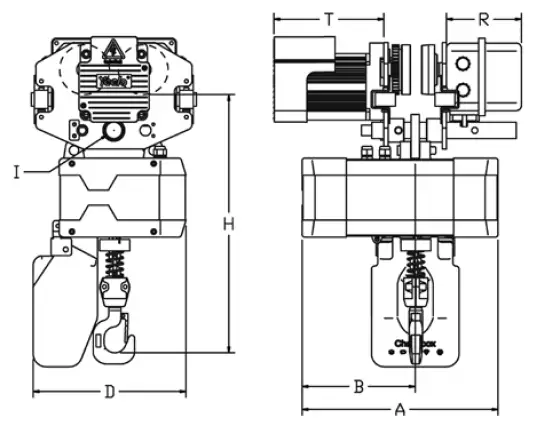
| Model | H | A | B | D | I | T | R |
| YJ 0.5-01 | 490 | 375 | 218 | 275 | 31 | 210 | Φ142 |
| YJ 01-01 | 510 | 400 | 243 | 290 | 31 | 210 | Φ142 |
| YJ 01-02 | 565 | 375 | 218 | 275 | 31 | 210 | Φ142 |
| YJ 02-01 | 640 | 490 | 258 | 425 | 36 | 230 | Φ142 |
| YJ 02-02 | 615 | 400 | 243 | 290 | 36 | 230 | Φ142 |
| YJ 03-01 | 695 | 490 | 258 | 425 | 43 | 230 | Φ142 |
| YJ 03-02 | 750 | 490 | 258 | 425 | 43 | 230 | Φ142 |
| YJ 05-02 | 830 | 490 | 258 | 425 | 54 | 230 | Φ142 |
Recommend Products
Electric&Manual Trolley
Cap.:1t-10t
Electric/Manual Trolley
Electric/Manual Trolley
VFE Electric Winch
Cap.:170kg-490kg
Permanent magnet frequency conversion
Single phase110V/220V
Permanent magnet frequency conversion
Single phase110V/220V
ER Double/Single Speed Electric Chain Hoist (Fixing Type)
Cap.:0.5t-30t
Double speed
Double speed
VFF Electric Wire Rope Winch
Cap.:200kg-500kg
Permanent magnet frequency conversion
Permanent magnet frequency conversion
ER Double/Single Speed Electric Chain Hoist (Moving Type)
Cap.:0.5t-30t
Moving type
Moving type
VFH Electric Chain Hoist
Cap.:300kg-2000kg
Permanent magnet frequency conversion
Permanent magnet frequency conversion












