Features
- The shell is made of aluminum alloy and features a reinforced rib design, ensuring a long service life, solid construction, and resistance to harsh environments.
- The rear cover can be rotated and supports 360° pulling, making it more convenient to use.
Specification
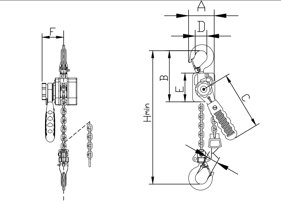
| Capacity | t | 0.25 | 0.5 | |
| Standard lift | m | 2.5 | 2.5 | |
| Running test load | KN | 2.5 | 5 | |
| Effort required to lift rated load | N | 147 | 187 | |
| Diameter of load chain | mm | 3.2 | 4.3 | |
| Stramds of load chain | 1 | 1 | ||
| Dimension | A | mm | 90 | 105 |
| B | mm | 88 | 100 | |
| C | mm | 240 | 270 | |
| D | mm | 31 | 33 | |
| K | mm | 25 | 28 | |
| Net Weingt | kg | |||
| Extra weight per metre of extra lift | kg | |||

Recommend Products
EX-L Spark Proof Lever Block
Cap.:0.5t-9t
Spark Proof
Spark Proof
MINI Type Aluminum Alloy Lever Block
Cap.:0.25t-0.75t
Aluminum Alloy
Mini Type
Aluminum Alloy
Mini Type
MINI Type Lever Block
Cap.:0.25t-0.75t
Mini Type
Powder coating
Chromium plating
Mini Type
Powder coating
Chromium plating
NT Type Lever Block
Cap.:0.25t-9t
NT Type
NT Type
V Type Lever Block
Cap.:0.75t-9t
V Type
V Type
360° Rotate Chain Block
Cap.:0.25t-50t
360° Rotate
360° Rotate









